


来源:问政鹰潭平台
问政鹰潭平台2025年12月份
留言办理情况通报
2025年12月1日至12月31日,问政鹰潭平台共收到网友投诉建议等留言137条,其中证据相对充足、内容翔实的有效帖文123条(环比降低6%),已转办各地各部门。
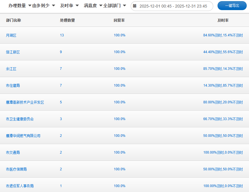
转办的123件留言中,市直部门56条, 贵溪市21条、月湖区19条、信江新区13条、余江区9条、鹰潭高新区5条。
从类别来看:百姓生活类30条、交通运输类26条、城市建管类16条、住房保障类15条、科教文卫类9条、市场经营类8条、社会保障类7条、征地拆迁类1条,其他类11条。

从属性来看:投诉、求助、咨询类留言占比较高。投诉类67条,求助类28条,咨询类24条,建议类17条,感谢类1条,分别占留言总量的49%、20.4%、17.5%、12.4%、0.7%。

从办理情况来看:转办留言中已办理109条,办理中13条,整体回复率为88.6%,整体回复率环比上涨6.6%。其中,余江区、月湖区、信江新区、鹰潭高新区,市住建局、市卫健委、市交通局、市医保局、市退役军人事务局、市人社局、市商务局、市税务局,华润鹰潭燃气有限公司、江西移动鹰潭分公司等单位回复率100%。

备注:处理数量为公开反映的问题办理数量,不包含非公开反映问题数量
正在办理的13条留言中,均超过规定办理时限(截至2026年1月20日)。其中:贵溪市1条,市城建投、市金融监管分局、市公安局、市文广旅局各2条,市自然资源局、市教育局、团市委、国网鹰潭分公司各1条。请以上单位加紧办理。
红黑榜单
(一)红榜
1.网友“周先生”反映:月湖区四青街道鱼塘村面粉厂大门外,垃圾又堆成山。
月湖区:接到投诉后,上桂村委会立即组织对该处垃圾进行了清运,目前垃圾已全部清运完成。下一步,上桂村委会将进一步加强日常巡查检查力度,强化与执法部门联动,严厉打击偷倒垃圾的行为,防止此类现象再次发生。

2.网友“刘先生”咨询:贵溪规划十四路延伸港汇府邸路口不知道能否通过适当降低标高,提高行车舒适度和改善视线呢?
贵溪市回复:正在建设的规划十四路西延伸段道路设计已把该路口的标高降低,并与南铁贵溪运转站达成协议,统一降低路口标高。目前,已在施工。
3.网友“童先生”咨询:请问三孩家庭能否享受购房补贴,具体政策能否告知。
市住建局回复:关于购房奖励补贴的政策需比对自身实际情况,将相关资料提交至购房属地住建局进行核实确认。
相关政策内容如下:(一)实行阶段性购房补贴。自2024年8月1日起至2025年12月31日,在我市中心城区购买新建商品房的(以合同网签备案时间为准,含住宅及商业、店铺、公寓、办公楼等非住宅),由房地产项目所在区(管委会)财政给予购房补贴。购买首套新建商品住房的按购房款(以网签备案合同金额为准)总额0.7%给予补贴;购买第二套新建商品住房的按购房款(以网签备案合同金额为准)总额1%给予补贴;购买第三套及以上新建商品住房的按购房款(以网签备案合同金额为准)总额2%给予补贴;购买商业、店铺、公寓、办公楼等非住宅的均按购房款(以网签备案合同金额为准)总额2%给予补贴,补贴申报时间截止于2026年12月31日。
(二)对生育家庭实施差异化购房补助。自2024年8月1日起至2025年12月31日,在我市中心城区购买新建商品住房(以合同网签备案时间为准,不含商业、店铺、公寓、办公楼等非住宅)的二、三孩家庭按套给予购房补贴。符合生育政策的二孩家庭(二孩为2013年12月28日及以后出生)给予新建商品住房对应购房款(以网签备案合同金额为准)总额3%的购房补贴,二孩家庭补贴总金额最高5万元;符合生育政策的三孩家庭(三孩为2021年6月1日及以后出生)给予新建商品住房对应购房款(以网签备案合同金额为准)总额6%的购房补贴,三孩家庭补贴总金额最高10万元(具体孩次按同一对夫妻共同生育的子女数计算,以出生医学证明为准)。同一购房家庭只能就高享受一次奖励,补贴资金由市、区(管委会)按3:7比例负担,补贴申报时间截止于2026年6月30日。该补助可以和上述第(一)条叠加领取。
4.网友“吴先生”反映:近期,梅园翠林小区东门停车场在安装汽车充电桩,如果充电桩安装在这里,对于玩耍的小朋友们来说是有安全隐患的,容易发生触电安全事故,建议更换地方。
月湖区回复:按照群众建议,现已调整安装位置,把电表箱装在绿化上(充电桩安装在白色车子后面),消除安全隐患。

5.网友“桂先生”咨询:对于三胎家庭,是否有燃气补助政策?
华润鹰潭燃气有限公司:居民家庭人口5人及以上的家庭,可持户口本或暂住证和居住地社区证明到燃气公司营业网点申报,经燃气公司确认后,家庭人口每增加一人,各档用气量每月增加5立方米,即年增加60立方米,超出部分分档计价。第一阶梯全年用气量420m³户(含)以下,气价为3.2元/m³;第二阶梯全年用气量421m³-660m³(含)气价为3.52元/m³,第三阶梯全年用气量661m³(含)以上,气价为4.16元/m³。
待解决热点留言
1.网友“姜先生”反映:信江新区安置楼房和顺家园二期的房子装修入住之后,一到刮风天气,房子窗户就漏风,鬼哭狼嚎的,问题反映一个月了得不到解决,请相关部门督促责任单位上门处理。
2.网友“徐先生”反映:金域华府2023年8月交房,说一直到2025年年底都不能办房产证,售楼部工作人员也没明确的办理时间,请相关部门能督促开发企业履责,为老百姓办理不动产证。