


来源:天天鹰潭
问政鹰潭平台 2025 年8月份
留言办理情况通报
2025年8月1日至8月31日,问政鹰潭平台共收到网友投诉建议等留言159条,其中证据相对充足、内容翔实的有效帖文146条(环比上涨6%),已转办各地各部门。
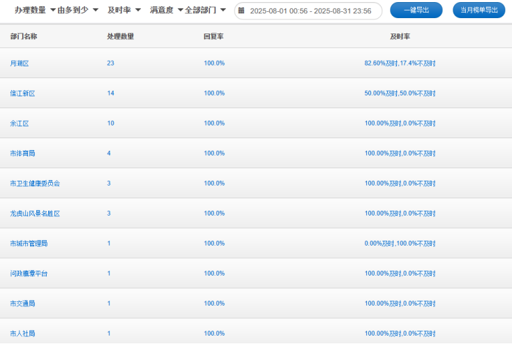
转办的146件留言中,市直部门55条, 贵溪市30条、月湖区25条、信江新区15条、余江区13条、鹰潭高新区5条、龙虎山景区3条。
从类别来看:百姓生活类34条、城市建管类27条、交通运输类24条、住房保障类20条、科教文卫类18条、市场经营类11条、社会保障类4条、“三农”类2条、生态环境类1条,其他类5条。

从属性来看:投诉、求助、咨询类留言占比较高。投诉类71条,求助类43条,咨询类27条,建议类18条,分别占留言总量的45%、27%、17%、11%。

从办理情况来看:转办留言中已办理146条,办理中19条,整体回复率为88%(截至9月10日),整体回复率下降4%。 其中,余江区、月湖区、信江新区、龙虎山景区,市体育局、市卫健委、市交通局、市人社局、市自然资源局、市城管局、市市场监管局、市公路管理中心、市水利局、市体育局、市税务局,国网鹰潭供电公司、华润鹰潭燃气有限公司、市供水集团等单位回复率100%。
备注:处理数量为公开反映的问题办理数量,不包含非公开反映问题数量

正在办理的19条留言,18条超过规定办理时限(截至9月10日)。其中:贵溪市5条、鹰潭高新区1条,市公安局5条,市住建局3条,市教育局、鹰潭铁路车站、市行政服务中心、团市委1条。请以上单位加紧办理相关留言。
热点留言办理情况
一、网友“陈先生”咨询:在延迟退休政策下,1985年出生的男性特殊工种的退休年龄是55周岁还是58周岁?
市人社局回复:按照延退法定退休年龄改革有关规定,改革实施后,特殊工种提前退休年龄要相应渐进式延迟:原特殊工种提前退休年龄为五十五周岁的男职工,每四个月延迟一个月,逐步延迟至五十八周岁;原特殊工种提前退休年龄为四十五周岁的女职工,每两个月延迟一个月,逐步延迟至五十周岁。如有问题或建议,请拨打鹰潭市人社局电话:0701-6275316。
二、网友“何女士”反映:鹰潭卫校右手边有一处井盖破损。
月湖区:收到您的反映后,我们高度重视,当天安排人员对破损井盖进行更换,目前已更换到位。

三、网友“范先生”反映:鹰东大道靠近鹰东收费站那条路晚上不开路灯,双向车道的车必须开远光灯,导致驾驶人开车刺眼更看不清楚路面。
市城管局回复:根据计划,市政部门实施了鹰东大道路灯电缆更换工程,目前工程已全面完成,现已恢复亮灯。
四、网友“汤先生”建议:余江区画桥镇汤家村的基础设施越来越完善,风景也越来越好,但美中不足的是村口那块空地,以前是一个运动器械场,现在空地杂草丛生、垃圾横飞,极不美观,与周边环境也极不协调。在此,呼吁尽快恢复村口运动器械场,可以适当增加儿童娱乐设施,还老百姓一个休闲、娱乐、锻炼的场所。
余江区回复:经过实地查看,一致认为村民提出的建议合理,经与该村小组理事会座谈,愿意用本村集体资金购买一整套完善的健身器材,统一规划统一施工。
待解决热点留言
一、网友“周先生”反映:鹰潭高新区乐成健身俱乐部,于8月1号发布公告说电路检修停业三天,但至今仍未开业,现诉求要求老板对办理的年卡进行退费处理。
二、网友“Nefert”等人建议:贵溪市鹰雄大道、象山大道继续向西沿线仍分布有多个住宅区、学校及酒店宾馆等,该区域本身公共交通配套相对不足,居民出行便利性有待提升。而共享电单车作为城市公共交通体系的重要补充,却尚未覆盖至此,建议将运营区域扩大至经开区东环路以东、铜都大道以东范围,显著改善本片区内居民和师生的出行条件。
来源 :问政鹰潭平台