


日前,据阿里司法拍卖平台,南昌大丰村镇银行2200万股股权将于5月29日公开拍卖,评估价为2554.64万元,折合约1.16元/股,起拍价为1431.20万元,折合每股价格仅为0.65元,较评估价打了5.6折。该笔股权占南昌大丰村镇银行总股本的10%。

拍卖平台显示,该笔股权为南昌大丰村镇银行第三大股东江西省绿滋肴实业有限公司(下称“绿滋肴实业”)持有,已被南昌市东湖区人民法院冻结,此次拍卖已为第二次拍卖。2025年4月8日,该笔股权在阿里司法拍卖平台上第一次拍卖,起拍价为1789万元,折合约0.81元/股,终因无人出价而流拍。

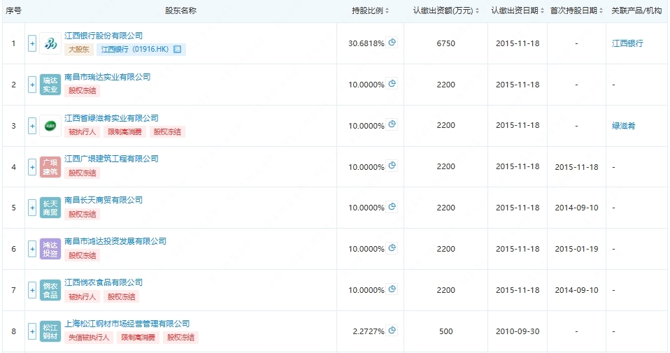
公开信息显示,南昌大丰村镇银行第一大股东为江西银行,认缴出资额为6750万元,持股比例为30.68%。江西银行2024年年报显示,截至报告期末,南昌大丰村镇银行和四平铁东德丰村镇银行、南丰桔都村镇银行、广昌南银村镇银行为江西银行旗下不重要联营企业。2024年末上述四家村镇银行资产总额为36.82亿元。
据公开资料,南昌大丰村镇银行共有企业法人股东11家,其中9名股东所持股权被冻结,股权冻结总额为1.46亿股,占该行总股本的66.36%。其中,4名股东被限制高消费,分别为绿滋肴实业、上海松江钢材市场经营管理有限公司、江西日森光源科技有限公司和江西金锤钢化玻璃有限公司。此次拍卖的股权持有人绿滋肴实业因多起借款合同纠纷致使其所持南昌大丰村镇银行股权被冻结。若此次拍卖成功,绿滋肴实业将不再持有南昌大丰村镇银行股权。
来源:金融界