
据京法网事,2025年3月20日,北京市第二中级人民法院依法公开宣判北京市文化投资发展集团有限责任公司原党委书记、董事长周茂非贪污、受贿案,对被告人周茂非以贪污罪判处有期徒刑十二年六个月,并处罚金人民币一百万元;以受贿罪判处有期徒刑十四年六个月,并处罚金人民币二百万元,合并执行有期徒刑十七年,并处罚金人民币三百万元。追缴其贪污违法所得,发还被害单位;追缴其受贿违法所得及孳息予以没收,上缴国库。
公开信息显示,北京市文化投资发展集团有限责任公司(简称“北京文投集团”)成立于2012年12月,是由北京市政府授权北京市国有文化资产管理中心成立的国有独资公司,注册资本60亿元,为市属一级企业。
而*ST文投(600715)则是文投集团下属上市公司,曾绑定成龙、吴亦凡。此外,冯小刚、张国立、李冰冰、黄晓明也曾间接持股该公司。周茂非曾担任文投控股董事长。
周茂非违规出入私人会所
非法收受他人巨额财物
据北京市文资办官网、北京石景山区政府官网显示,周茂非,男,汉族,1963年4月出生,黑龙江宝清县人,1985年1月加入中国共产党,1986年8月参加工作,在职研究生文化程度(中国矿业大学管理科学与工程专业),工学硕士、管理学博士,高级工程师。
曾任北京市国有文化资产管理办公室党组书记,北京市石景山区委副书记、区长,北京市政府侨务办公室副主任、党组成员,北京仪器仪表工业控股(集团)有限责任公司副总经理。
2022年7月,周茂非因涉嫌严重违纪违法接受纪律审查和监察调查。
2022年7月18日,文投控股公告,董事会收到公司董事长周茂非提交的《辞职报告》。周茂非因个人原因,申请辞去公司董事长、董事及董事会专门委员会相关职务。
2013年4月5日,北京市纪委监委消息:日前,经北京市委批准,北京市纪委监委决定给予北京市文化投资发展集团有限责任公司原党委书记、董事长周茂非(正局级)开除党籍、开除公职处分。

经查,周茂非不落实党和国家的方针政策以及决策部署,不履行全面从严治党主体责任,对抗组织审查,参加迷信活动;收受可能影响公正执行公务的礼品、礼金和公务旅游活动安排,违规出入私人会所;不如实申报个人有关事项;干预和插手国有企业重大项目投资。利用职务上的便利,非法占有公共财物,非法收受他人巨额财物。

图片来源:北京市文资办
周茂非严重违反党的纪律,构成严重职务违法并涉嫌贪污、受贿犯罪,且在党的十八大后不收敛、不收手,党的十九大后仍不知敬畏、不知止,应予严肃处理。依据相关规定,经市纪委常委会会议研究并报市委批准,决定给予周茂非开除党籍、开除公职处分;收缴其违纪违法所得;将其涉嫌犯罪问题移送检察机关依法审查起诉。
值得注意的是,曾任北京文投集团总经理,文投控股董事长的赵磊于2022年3月被查,2013年4月5日被通报“双开”。
任职4年半亏了51亿元
北京文投集团旗下产业众多,其中包括文投控股股份有限公司。
2015年,文投控股股份公司借壳濒临退市的松辽汽车上市,文资控股((北京文投集团参股公司))成为控股股东,耀莱文化成为第二大股东,君联嘉睿成为第三大股东。

2015年9月,赵磊作为“北京市文化投资发展集团有限责任公司副书记、副董事长、CEO”,被提名为*ST松辽的董事,同年10月出任该公司董事长。
而耀莱文化实控人为綦建虹,綦建虹与成龙有着广为人知的资源链接关系,文投控股借此绑定了成龙。綦建虹还曾担任过文投控股总经理,2018年离职。
2015年8月,文投控股以14.28亿元和23.20亿元的价格完成对耀莱文化子公司江苏耀莱影城管理有限公司100%股权的收购。这样一来,文投控股就成为了耀莱影城的控股股东。据公告显示,耀莱影城获得成龙授权,有权在各“耀莱成龙国际影城”、“耀莱国际影城”等影城运营项目中,商业使用成龙的姓名、肖像和品牌形象。
此后,由成龙主演的影片出现在文投控股的年报当中。根据年报显示,文投控股投资的《功夫瑜伽》《英伦对决》《天将雄狮》《绝地逃亡》《铁道飞虎》等5部影片总票房共有46.1亿。不仅如此,双方共同打造的耀莱成龙国际影城在业界迅速崛起,多次成为全国影院票房冠军。
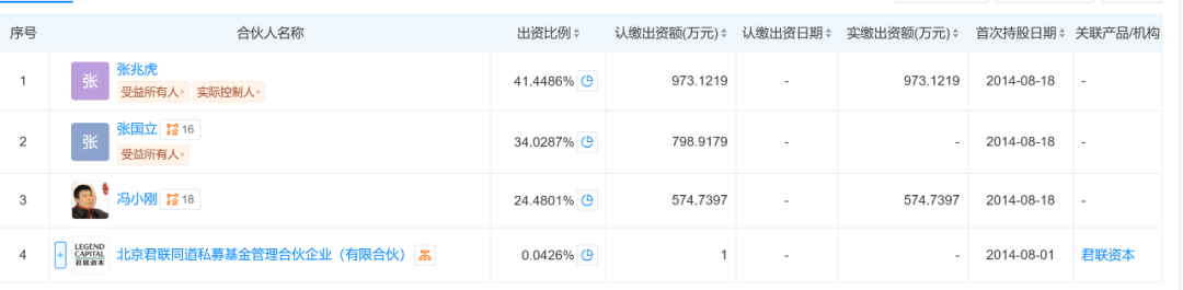
而另一个股东君联嘉睿当时则有着冯小刚、李冰冰、张国立、黄晓明等明星股东。

值得注意的是,文投控股最新披露的前十大的股东中已经没有了耀莱文化、君联嘉睿,另外李冰冰、黄晓明也已退出君联嘉睿。

2016年6月,文投控股的孙公司耀莱影视与吴亦凡所属公司的香港星睿文化达成委托协议,吴亦凡在中国大陆范围内的广告、电影等演艺事务,将由耀莱影视全权代理和全面负责,并肩负维护此间衍生的各项演艺人员合法权益的责任。多重利好下,当年9月,文投控股股价攀至巅峰26.62元。
公告显示, 2015年至2017年,耀莱艺人经纪业务与成龙、吴亦凡等艺人展开深度合作。2015年、2016年、2017年经纪业务收入分别为 7079.97万元、7141.51万元、7494.71万元。此后,由于耀莱与成龙、吴亦凡等艺人经纪业务未有新增业务,艺人经纪收入出现了较大幅度下滑。但吴亦凡的红火,确实成为了文投控股的炒作题材。在2017年12月,文投控股在一场重组说明会上,特别强调吴亦凡是文投控股旗下签约艺人。
2017年10月,文投控股公告称,董事长赵磊因个人工作变动,辞任董事长等相关职务。同时,董事会提名周茂非为董事候选人,并提交股东大会选举。2018年1月,周茂非正式出任文投控股董事长。

据中国电影报,在2019年11月的金鸡百花电影节期间,文投控股举办了“文投之夜”。周茂非阐述了文投控股的发展历程及在各产业链的布局,并表示文投控股肩负着助力北京文化产业升级的重要职责,对引导行业健康、理性发展,打造优秀的影视产业链有着义不容辞的责任,并希望与影视从业者共同推进中国文化产业良性发展。
不过,在2018年1月到2022年7月周茂非担任董事长期间,文投控股净利润连续亏损,4年半时间累计亏损额高达51亿元,其中2020年就亏损了35.1亿元。
另外,文投控股多次已多次发布风险提示,公司股票可能被终止上市。
文投控股表示,公司2023年度经审计的期末归属于上市公司股东的净资产为负值,近三年连续亏损且会计师事务所对公司2023年度财务报告出具了包含与持续经营相关的重大不确定性段的无保留意见审计报告。2024年4月29日,文投控股被实施退市风险警示(即*ST)。
文投控股称,若公司2024年度仍然存在《上海证券交易所股票上市规则》第9.3.7条规定的不符合申请撤销股票交易退市风险警示的情形,或者未在规定期限内申请撤销退市风险警示的,公司股票将面临被终止上市的风险。
值得注意的是,2024年10月21日,公司收到北京一中院送达的《民事裁定书》及《决定书》,法院裁定受理公司债权人对公司的重整申请,11月25日,经公司申请,北京一中院作出《民事裁定书》,裁定批准《文投控股股份有限公司重整计划》,并终止公司重整程序。
目前文投控股每股报2.14元,总市值为86.88亿元。
编辑|||何小桃 杜恒峰
校对|孙志成
每日经济新闻综合每经APP、公开消息等