来源:丰城党建
丰城市教体局公开选调工作人员笔试成绩公示
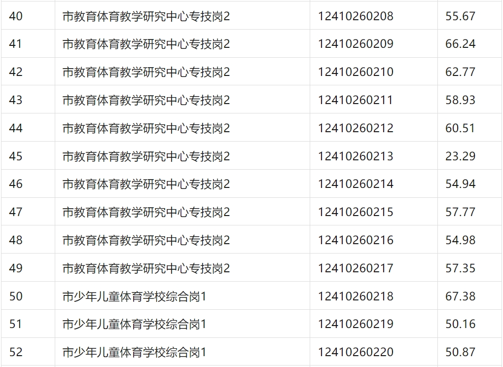
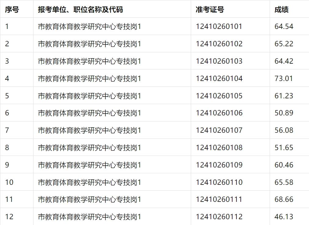
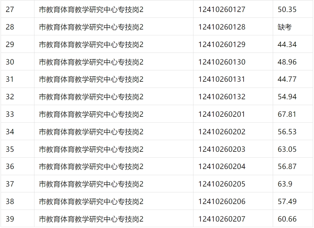
根据《丰城市教育体育局公开选调工作人员公告》精神,经笔试,现将笔试成绩公示5个工作日,公示期举报电话:0795-12380,咨询电话:0795-6601785。
中共丰城市委人才工作领导小组办公室
2024年10月27日
3月份70城房价数据显示市场复苏动能持续积聚
内蒙古一研究院1200元办院士证?官方叫停
女子举报虐猫者遭“开盒” 全家信息曝光还被造谣卖淫
千万网红博主称在大凉山帮扶被骗:相关部门跟进调查
四川荣县通报“男子无偿献血十年要求免诊查费遭拒”
武汉植物园回应景区铁笼内种植罂粟:系“合规上岗”
九江20岁女大学生带着奶奶上大学
镇雄一名小学生给老师起外号被扇耳光致耳损伤
贵州梵净山90°垂直天梯走红
2026第十七届井冈山杜鹃花节将于4月18日开幕
以春为媒 暖意涌动——盘点清明假日消费新亮点
“离职同事被炼化 变成数字永生了”
安徽一对新人乘高铁接亲,网友直呼“上亿的婚车”,当事人发声